| Autore |
Messaggio |
   
Alessio Rosati (direttoreskinner)
Nuovo utente (in prova) Username: direttoreskinner
Messaggio numero: 24 Registrato: 06-2007
| | Inviato il sabato 26 aprile 2008 - 18:34: |    |
Ciao a tutti ragazzi, dopo aver rimesso in moto la 944 (sensore di fase rotto) ho deciso di divertirmi a fare le pulizie di pasqua anche se con qualche settimana di ritardo! E così in un pomeriggio assolato e annoiato io mio fratello e mio cugino (ma è un lavoro che si può fare anche da soli) abbiamo ridato al 944 quei 30-40 cavalli (giuro!) che sembravano persi nel tempo... non vi preoccupate niente modifiche o impicci strani... solamente una bella pulita a: - filtro aria e relativa scatola - debimetro - condotto debimetro-corpo farfallato - corpo farfallato - condotti di aspirazione principale. Per la pulizia abbiamo usato un diluente nitro antinebbia che ha sciolto il grasso e le incrostazioni in maniera veramente efficace e non potete capire in che stato pietoso erano il debimetro ma soprattutto la valvola a farfalla... erano ricoperti da uno strato di sporcizia e grasso di 26 anni, infatti credo che nessuno mai si sia messo a fare questo lavoro prima, a giudicare dallo stato in cui li abbiamo trovati. Non ultimo, ci siamo accorti che il cavo dell'acceleratore era troppo lento e non riusciva a far aprire totalmente la farfalla: gli abbiamo dato una bella registrata. Insomma, dopo aver rimontato il tutto con la dovuta attenzione, mi sono fatto un giretto di prova... risultato? Incredibile... sembra avere almeno un 30% di potenza in più, il motore gira molto più regolarmente ed oltretutto è molto più silenzioso di prima, ma la cosa che maggiormente mi ha stupito e il "tiro" agli alti, sicuramente dovuto al cavo lento e quindi alla non completa apertura della farfalla. Ora prossima mossa sarà quella di cambiare filtro aria, candele e un bel cambio olio e calotta distribuzione con rotante... e chi mi ferma più? Ah dimenticavo, smontando il flauto iniettori mi sono accorto che il cappuccetto forato che copre la parte finale dell'iniettore (non so come altro chiamarlo!) su due o tre di essi sono presenti delle crepe... si può trovare come ricambio secondo voi o bisogna cambiare tutto l'iniettore? un po' di foto (N70) per la cronaca... Senza aspirazione...
Corpo chiuso... notare il colore ADESSO bronzo della farfalla, tornata al suo antico splendore...
Farfalla aperta
Condotti aspirazione belli puliti fuori e dentro...
...e per finire io (maglia grigia), mio cugino (grande preparatore Bimota e Ducati) e Lei...
25 Aprile: festa dell'aspirazione! Lampeggi! (Messaggio modificato da direttoreskinner il 26 aprile 2008) La mia Porsche preferita? Ovvio, tutte quelle che iniziano con "3" con "9" e con "C"! |
   
Marco C. (newatercooled)
Utente registrato Username: newatercooled
Messaggio numero: 324 Registrato: 05-2005

| | Inviato il sabato 26 aprile 2008 - 18:53: |    |
Ottimo! Passione, tenacia e capacità! Bravi! Marco Porsche 951 51 India Red Tessera PMania n. 628 |
   
luca80 (luca80)
PorscheManiaco vero !! Username: luca80
Messaggio numero: 9807 Registrato: 08-2005

| | Inviato il sabato 26 aprile 2008 - 19:28: |    |
 VIVI E LASCIA VIVERE !!! tessera n°1045
|
   
Gaspare D. (gas964)
Porschista attivo Username: gas964
Messaggio numero: 1239 Registrato: 02-2007

| | Inviato il sabato 26 aprile 2008 - 19:29: |    |
Gran bel lavoro Alessio, complimenti. L'esperienza è data dall'insieme delle fregature prese nella vita |
   
Patrizio G. (obiwanwrc)
Moderatore Username: obiwanwrc
Messaggio numero: 4568 Registrato: 06-2006

| | Inviato il sabato 26 aprile 2008 - 19:48: |    |
Molto bravi, ottima documentazione!
 Socio PiMania n° 609 - Capo Patacca© "Il sonno della ragione genera mostri..." - "Il dado è tratto (ed è uscito 6...)" |
   
Ric968 (ric968)
Porschista attivo Username: ric968
Messaggio numero: 2352 Registrato: 11-2006

| | Inviato il sabato 26 aprile 2008 - 21:17: |    |
Ottimo contributo! davvero non credevo che ci potesse essere tanta potenza sopita dal grasso e dalla sporcizia, anche se credo che il cavo dell'acceleratore risistemato abbia fatto la differenza nel recuperare la potenzialità del motore; comunque un lavoro di manutenzione che merita essere fatto!
 |
   
Alessandro (webjack)
Utente esperto Username: webjack
Messaggio numero: 771 Registrato: 03-2006

| | Inviato il sabato 26 aprile 2008 - 23:09: |    |
Ciao Alessio, gran bella pulizia! soprattutto, lavoro molto utile. Per i capucetti iniettori: duci quelli con i contatti elettrici che si innestano sugli iniettori? se sono quelli li puoi prendere direttamente da un centro Bosch, gli iniettori della 944 prima serie sono in comune con molte altre macchine, soprattutto BMW. Comuque, anche se sono crepati non dovrebbero dare problemi di sorta. La differenza tra un uomo ed un bambino stà nel costo dei suoi giocattoli.....io mi sento molto bambino....e adoro avere tanti "giocattoli" |
   
andrea (jamesporsche)
Utente registrato Username: jamesporsche
Messaggio numero: 125 Registrato: 11-2007

| | Inviato il domenica 27 aprile 2008 - 03:07: |    |
bellissima pulizia...domanda:c'e' una guarnizione sui collettori dell'aspirazione?se si, si deve cambiare quando si smontano? vorrei fare anch'io questa pulizia... |
   
Alessio Rosati (direttoreskinner)
Nuovo utente (in prova) Username: direttoreskinner
Messaggio numero: 25 Registrato: 06-2007
| | Inviato il domenica 27 aprile 2008 - 05:13: |    |
Ciao a tutti, sono veramente contento di avervi trasmesso il mio entusiasmo nell'eseguire questa operazione, ero sicuro di farvi cosa gradita aprendo questa discussione... ma torniamo a noi... - per Alessandro: io intendevo proprio i cappuccetti che vanno ad infilarsi nel condotto di aspirazione, forse una foto presa dal web può spiegare meglio:
l'iniettore della foto non è il "nostro" ma è uno simile, sui tre dei miei la parte che ho evidenziato in rosso presenta delle crepe che partono dal foro dove viene spruzzata la benzina, mi chiedevo se si trovasse solo quel cappuccetto come ricambio... mah... - per Andrea: si ci sono delle guarnizioni e come tutte le guarnizioni sarebbe meglio cambiarle quando vengono aperte (almeno così dicono quelli bravi...) le mie erano ancora morbide e in ottimo stato quindi le ho rimontate così come le ho trovate. Credo che alcune volte basta usare l'occhio come strumento di valutazione, tu fai il lavoro e se le dovessi trovare strappate o lacerate provvederai a sostituirle... Fanali! La mia Porsche preferita? Ovvio, tutte quelle che iniziano con "3" con "9" e con "C"! |
   
Don gusti (agors)
Utente registrato Username: agors
Messaggio numero: 223 Registrato: 05-2006

| | Inviato il domenica 27 aprile 2008 - 11:24: |    |
il kit guarnizioni per iniettore comprende anche i cappuccetti mi pare e costa circa 25€ per 4 iniettori alla porsche! io li ho ordinati ma poi la porsche di modena li ha venduti ad un altro!che comportamento! Studia con dubbio, agisci con fede. MMR, Ing. mecc e veicolo modena. |
   
Alessio Rosati (direttoreskinner)
Nuovo utente (in prova) Username: direttoreskinner
Messaggio numero: 26 Registrato: 06-2007
| | Inviato il domenica 27 aprile 2008 - 11:38: |    |
Grazie Agors bella notizia, andrò ad ordinarli allora, sempre che poi non li vendano a te! ...e comunque tornando al discorso, credo anche io che gran parte della potenza sia stata recuperata grazie al cavo acceleratore rimesso a posto (ric968) ma la pulizia è servita per ridare decisamente regolarità e corposità. Mi raccomando controllate anche voi che il pedale apra totalmente la farfalla, so che detta così può sembrare una ovvietà ma certe volte sono proprio le cose più banali quelle che ti fregano, e con me lo aveva fatto alla grande! Buona domenica e buone passeggiate a tutti! (col Porsche, è regolare!) (Messaggio modificato da direttoreskinner il 27 aprile 2008) La mia Porsche preferita? Ovvio, tutte quelle che iniziano con "3" con "9" e con "C"! |
   
Alessandro (webjack)
Utente esperto Username: webjack
Messaggio numero: 772 Registrato: 03-2006

| | Inviato il domenica 27 aprile 2008 - 13:03: |    |
Ho capito Alessio....si si trovano, o in Porsche o direttamente ad un centro Bosch (gli iniettori sono i loro). Occhio perchè i cappuccettie i relativi gommini che si trovano poco sopra servono per fare tenuta, se si usurano rischi di spruzzare benzina fuori dalla camera. A suo tempo li ho sostituiti quando ho revisionato tutto il flauto iniettori. La differenza tra un uomo ed un bambino stà nel costo dei suoi giocattoli.....io mi sento molto bambino....e adoro avere tanti "giocattoli" |
   
maryo marchionni (maryo_924)
Utente registrato Username: maryo_924
Messaggio numero: 341 Registrato: 01-2006
| | Inviato il domenica 27 aprile 2008 - 15:58: |    |
Anche se sono lontano siete semplicemente Grandi, mamma mia che passione , veramente altruisti per queste splendite bimbe, sono d'accordo una pulizia simile ridona alla 944 la sua vera aggressività specialmente a lungo è veramente veloce. Grandi!! |
   
SilverD (Dani M) (silverdrago)
Porschista attivo Username: silverdrago
Messaggio numero: 1314 Registrato: 06-2007

| | Inviato il domenica 27 aprile 2008 - 19:05: |    |
Gran bel lavoro!! Tutti vedono quello che sembri,pochi quello che sei. - Tessera P.mania n.1176 |
   
Paolo G (paolo356)
Utente registrato Username: paolo356
Messaggio numero: 169 Registrato: 06-2005

| | Inviato il domenica 27 aprile 2008 - 20:01: |    |
bel lavoro !!! Ma già che c'eri lo scalino sul corpo farfallato lo potevi raccordare così:
Non si guadagnano certo dei cavalli.. però già che lo hai smontato..... «Ho speso un sacco di soldi per alcol, donne e macchine veloci... Tutti gli altri li ho sperperati.» ๑۩۞۩๑}Pðø1ø{๑۩۞۩๑ |
   
Alessio Rosati (direttoreskinner)
Nuovo utente (in prova) Username: direttoreskinner
Messaggio numero: 28 Registrato: 06-2007
| | Inviato il lunedì 28 aprile 2008 - 12:04: |    |
eheh.. certo così a vedersi è molto più corpo-so! Mi hai dato un'idea per la prossima domenica noiosa...  La mia Porsche preferita? Ovvio, tutte quelle che iniziano con "3" con "9" e con "C"! |
   
Riccardo V. (fidia)
Moderatore Username: fidia
Messaggio numero: 2360 Registrato: 11-2006

| | Inviato il lunedì 28 aprile 2008 - 16:55: |    |
Gran lavoro e bel reportage fotografico, bravo Alessio!  Tessera N° 1031 |
   
Corrado (kitt)
Utente registrato Username: kitt
Messaggio numero: 132 Registrato: 10-2007

| | Inviato il martedì 29 aprile 2008 - 00:27: |    |
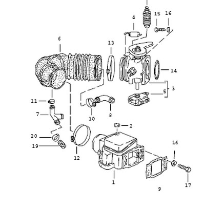
Bel lavoro. A occhio sembra più facile gestire i lavori sulla 8V, sulla 16 trovo veramente difficile accedere. Il misuratore d'aria l'ho smontato semplicemente, ma è sempre pulito. La zona più difficile è proprio lassù dove c'è quella valvolina la n°5 +++ jpeg +++ 377340 +++ jet +++ definita Throttle valve switch che sembra essere una parte che si sporca e che vada pulita o sostituita, ma ci ho rinunciato perchè bisogna smontare tutto. Poi vorrei anche pulire la valvola attuatrice idle quella che regola il minimo, ma giuro che sulla 16v non saprei nemmeno dove iniziare a guardare, forse sotto? (Messaggio modificato da kitt il 29 aprile 2008) |
   
Corrado (kitt)
Utente registrato Username: kitt
Messaggio numero: 133 Registrato: 10-2007

| | Inviato il martedì 29 aprile 2008 - 00:34: |    |
La valvola Throttle Switch è la 5 |
   
Alessio Rosati (direttoreskinner)
Utente registrato Username: direttoreskinner
Messaggio numero: 32 Registrato: 06-2007

| | Inviato il mercoledì 30 aprile 2008 - 17:22: |    |
Ciao Corrado, la valvola che dici tu, la throttle switch, in realtà è un interruttore con un potenziometro che si muove insieme all'apertura della farfalla... In pratica è questo:
Da quello che ho visto smontando il corpo farfallato, e riguardando questa foto, è che non è possibile aprirlo per ispezionarlo, l'unica cosa che forse si riesce a fare è pulirlo con uno spray per contatti. Comunque considera che è messo sotto il corpo farfallato quindi devi ahimè smontare tutto per raggiungerlo. Ti linko anche la pagina da dove ho preso la foto, non si sa mai dovesse tornarti utile... http://www.autopartsfair.com/porsche-engine_parts/catalog-item-349086.html Sfanalate! La mia Porsche preferita? Ovvio, tutte quelle che iniziano con "3" con "9" e con "C"! |
   
Alessandro (webjack)
Utente esperto Username: webjack
Messaggio numero: 781 Registrato: 03-2006

| | Inviato il mercoledì 30 aprile 2008 - 23:49: |    |
ATTENZIONE!!! Il TPS o poteziometro della farfalla, non puoi smontarlo così a caso e rimontarlo. Ha una sua posizione che deve essere misurata con il tester per azzerarlo quando lo rimonti, altrimenti il tps legge un ingresso d'aria quando la farfalla è ancora chiusa. tale situazione la ho provata sulla mia pelle, con la 944 che andava veramente male, ho dovuto rismontare tutto tarare bene il TPS, infatti se guardo i suoi alloggimaenti per le viti vedi che sono svasati, servono per far ruotare il TPS di qualche millimetro e metterlo a zero. La differenza tra un uomo ed un bambino stà nel costo dei suoi giocattoli.....io mi sento molto bambino....e adoro avere tanti "giocattoli" |
   
Alessio Rosati (direttoreskinner)
Utente registrato Username: direttoreskinner
Messaggio numero: 33 Registrato: 06-2007

| | Inviato il giovedì 01 maggio 2008 - 03:30: |    |
Ottimo Alessandro, mi ero dimenticato di dire proprio questa cosa... infatti noi non l'abbiamo smontato apposta per evitare il problema che dici tu. Spero che Corrado non abbia già smontato tutto... La mia Porsche preferita? Ovvio, tutte quelle che iniziano con "3" con "9" e con "C"! |
   
Alessandro (webjack)
Utente esperto Username: webjack
Messaggio numero: 783 Registrato: 03-2006

| | Inviato il giovedì 01 maggio 2008 - 11:22: |    |
Non è un problema smontarlo, ma bisogna ricordarsi di azzerlo mentre si monta. Se qualcuno ha bisongo lo dica che posto la procedura corretta. Comunque il TPS anche se sporco non dà problemi, i problemi li dà se la pista elettrica al suo interno è consumata e ci se ne accorge perchè la macchina và strappi solo ad un determinato range di giri, tipo da 2000 a 2500 giri. Se si deve sostitutire non prendere il ricambio Porsche che costa una follia, io lo ho preso alla Opel (è lo stesso che era montato sulle Opel Manta) e lo ho pagato 45€. In un altro posto avevo già scritto anche i codici per acquistarlo. La differenza tra un uomo ed un bambino stà nel costo dei suoi giocattoli.....io mi sento molto bambino....e adoro avere tanti "giocattoli" |
   
Paolo G (paolo356)
Utente registrato Username: paolo356
Messaggio numero: 173 Registrato: 06-2005

| | Inviato il giovedì 01 maggio 2008 - 12:08: |    |
internamente dovrebbe essere così:
mentre quello del 914 così:
 «Ho speso un sacco di soldi per alcol, donne e macchine veloci... Tutti gli altri li ho sperperati.» ๑۩۞۩๑}Pðø1ø{๑۩۞۩๑ |
   
Alessio Rosati (direttoreskinner)
Utente registrato Username: direttoreskinner
Messaggio numero: 34 Registrato: 06-2007

| | Inviato il venerdì 02 maggio 2008 - 11:09: |    |
Il problema delle strappate sui 2000-2500 alcune volte lo avverto anche io... vorrei ispezionarlo meglio e al limite lo cambio direttamente. A questo punto se hai voglia potresti postare la procedura per l'azzeramento? Comprandolo nuovo lo troverò già azzerato? Thanks... La mia Porsche preferita? Ovvio, tutte quelle che iniziano con "3" con "9" e con "C"! |
   
Alessandro (webjack)
Utente esperto Username: webjack
Messaggio numero: 784 Registrato: 03-2006

| | Inviato il domenica 04 maggio 2008 - 22:33: |    |
Aspetta Alessio...il fatto che a 2000 2500 giri strappa non per forza è indice del TPS con pista rovinata. Quando questo difetto si presente proprio a quei giri (io avevo fatto un esempio ma può succedere a qualunque regime di giri, dipende da dove si è rovinata la pista) molto più facilmente sono gli iniettori sporchi o comunque il sistema di alimentazione (filtro benzina intasato). Per prima cosa bisogna proprio capire quale è il problema, cerco di descriverti i sintomi: Iniettori sporchi: metti la prima e giri piano piano con il gas costante, tra i 1500 e 2500 giri, sempre con il gas costante, la macchina ha dei mancamenti e sembra che strattoni. Se acceleri di colpo di solito si affoga e poi si riprende subito. inoltre avrai la macchina che consuma molto e tanta puzza di benzina incombusta. TPs con pista rovinata: ad un certo regime di giri che equivale ad una posizione precisa del pedale del gas la macchina strappa, in qualunque marcia. Se vari la spinta sul pedale del gas, quindi muovi anche il TPS, la macchina smette subito di fare il difetto. Non è il TPS che deve essere azzerato, ma la sua poszione da montato, vado a spiegarmi meglio. Quando monti il TPS nuovo, l'alberino della farfalla si inserisce dentro al buco del TPS. A questo punto si impuntano le due viti laterale che lo tengono fermo e qui si inizia l'azzeramento: Praticamente anche il TPS ha dei piedini elettrici che andranno collegati al cavo della centralina. A seconda della pozione che il curcore assume lungo la pista elettrica interna dal TPS usciranno dei valori, che puoi rilevare con il Tester sempre espressi in Ohm. Praticamente devi prendere le varie misurazione e il tester deve dare 0 sui piedini, a questo punto stringi le viti che fisseranno devinitivamente il TPS al corpo farfallato. Altrimenti può succedere che la farfalla in realtà è chiusa ma il TPS ha il cursore già spostato sulla pista elettrica e ti legge un ingresso di aria. i problemi che ne derivano sono: partenza a motore tiepido difficoltose, CO sballato e difficilmente regolabile e minimo fuori dai valori (circa 800 giri a motore freddo e 1000 a motore caldo..praticamente lavora a rovescio).- Dimmi se sono riuscito a spiegarmi. Nell'eventualità, compra il TPS, smonti il corpo farfallato e vai dal tuo elettrauto di fiducia, e chiedi se te lo monta azzerandolo, operazione che richiede dieci minuti circa. Stai lì con lui e vedi come effettua la procedura così capisci meglio cosa voglio dirti, ti costerà una schiocchezza, nell'ordine di 10-20€...o nulla se l'ettrauta è un amico o capisce la tua passione! Mi raccomando non prendere quello della Porsche: guarda il codice Bosch sul tuo TPS e ordinalo in OPEL, lo pagherai 45€.... La differenza tra un uomo ed un bambino stà nel costo dei suoi giocattoli.....io mi sento molto bambino....e adoro avere tanti "giocattoli" |
   
Alessio Rosati (direttoreskinner)
Utente registrato Username: direttoreskinner
Messaggio numero: 36 Registrato: 06-2007

| | Inviato il lunedì 05 maggio 2008 - 15:08: |    |
Sei stato molto chiaro nello spiegare la procedura per il rimontaggio del TPS, ho capito perfettamente!   Ora la cosa che devo fare è capire bene a cosa è dovuto il problema delle strappate... forse come dici tu potrebbe dipendere dagli iniettori sporchi o dal filtro benzina intasato... effettivamente sto notando consumi superiori rispetto a prima e quindi sto pensando ad un trattamento iniettori, magari con il Liqui Moly (se riesco a trovarlo)... secondo te prima del trattamento mi converrebbe sostituire il filtro carburante?
 La mia Porsche preferita? Ovvio, tutte quelle che iniziano con "3" con "9" e con "C"! |
   
Alessandro (webjack)
Utente esperto Username: webjack
Messaggio numero: 785 Registrato: 03-2006

| | Inviato il lunedì 05 maggio 2008 - 15:27: |    |
No, ti conviene sostituirlo dopo...così si smuove anche tutta la sporcizia che finirà per forza nel filtro. La differenza tra un uomo ed un bambino stà nel costo dei suoi giocattoli.....io mi sento molto bambino....e adoro avere tanti "giocattoli" |
   
Corrado (kitt)
Utente registrato Username: kitt
Messaggio numero: 134 Registrato: 10-2007

| | Inviato il mercoledì 07 maggio 2008 - 12:00: |    |
Grazie per le precisazioni. In effetti ogni giorno se ne scopre una nuova. Accidenti non pensavo che una messa a punto dipendesse da così tanti fattori. Quindi anche quei problemi di partenza a motore caldo potrebbero a volte essere imputabili a questa valvola. Dunque ora ho 4 questioni da risolvere. Trovare la valvola del minimo e provare a capire se da quella dipende la minima irregolarità che ho sul minimo il mio sta sui 1000 giri, da quando ho fatto una serie di lavori si è stabilizzato a +-100 e non sono ancora contento, ma c'è sempre una tendenza in rilascio di acceleratore a spegnersi sia a vettura fredda che calda poi il misuratore d'aria si stabilizza. Oppure per perdite nel circuito del vuoto (già difficile da capire) Ricontrollare l'allineamento della cinghia (Balance Belt) non avevo capito come funzionassero le mascherine con le O e i segni di allineamento, forse devo ricontrollare perchè questa macchina tra 1800 e 2200 vibra abbastanza Infine quest'ultima della valvola con il potenziometro anche se ho fatto la proova più volte e l'auto non strappa mai ed è pronta sempre alla risposta a quei giri. Grazie per le informazioni. (Messaggio modificato da kitt il 07 maggio 2008) (Messaggio modificato da kitt il 07 maggio 2008) |